주요내용
3. 새롭게 배운거
- Local Response Normalization : 지금은 BN이 나오면서 잘 쓰지않음. layer내의 특정 뉴런값이 너무 클때 그 영향력을 줄이는 것(1, 100, 1이 출력이면 다음 레이어에서 거의 100만 반영되니까).
- stationarity of statistics : 정상성. 시간이 시나도 통계량이 바뀌지않음. 한 특징이 위치에 상관없이 다수 존재할 수 있음...
= time-invariant(continuous), shift-invariant(discrete)
## 픽셀이 움직여도 특성 보존
- stationarity(움직이지않음) : (주로 시계열) 데이터들이 시간에 관계 없이 데이터의 확률 분포는 일정하다는 가정
- locality of pixel dependencies : 지역성. 이미지에서 한 점과 의미있게 연결된 점들은 주변에 있는 점들로만 국한된다.
## CNN은 필터를 통해 이미지의 일부만 사용하므로 만족
- overlapping pooling : 겹침. 풀링 커널끼리 겹치면서 진행!
- receptive field : 수용 영역. 필터의 크기와 stride에 의해서 결정. 출력 레이어의 뉴런 하나에 영향을 미치는 입력 뉴런들의 공간크기. 작은 뉴런은 이미지의 작은 부분만 볼 수 있으며 작고 국소적인 특징에 민감. 큰 뉴런은 이미지의 더 많은 부분을 볼 수 있고 더 크고 전역적인 특징에 민감하고 복잡한 패턴/특징 잘 잡아내고 출력 이미지 해상도 낮아지고 크기도 더 작아지지만 계산비용 증가, 과적합 위험, local feature 간과 위험
## 그냥 1칸이 이미지 얼만큼을 나타내는가.(얼만큼의 이미지를 보는가) ex) 코 모양의 1칸
4. 느낀점
- AlexNet은 2012년 ILSVRC 우승. 최초로 CNN 방식의 딥러닝이 우승한 것
- 이론보다는 적용 사례인듯. 이런걸 썼더니 잘되더라(오버피팅, 에러율, 시간 등)
- "왜"가 궁금하긴 하다. 예를들어 하이퍼파라미터를 왜 그렇게 썼는지, 그 수치가 왜 좋은지 등등. 인공지능의 고질적인 문제와 관련있는건가
Model Discription
- ImageNet LSVRC-2010 데이터 활용 : 1.2 million images, 1000 classes
* error rate : top-1 37.5%, top-5 17%
- 적용 모델 : 60 million parameters, 650,000 neurons, 5 conv layers(some of them max-pooling), 3 fc layers, softmax
* Using GPU, dropout
- batch size 128. momentum 0.9, small weight decay 0 reduce error.
- initialize w from zero-mean gaussian distribution with sd 0.01, bias는 2,4,5 conv layer와 fc layer는 1, 나머지 0.
- lr : 모든 레이어에 같은 lr 썼음. 0.01로 initial. valid error stop improving할때 10으로 나눔. 종료까지 3번 감소
- 90 cycles. iteration 의미인가?
- 2개의 GTX 580(3GB)을 사용해 5~6일간 학습
- LSVRC-2012에는 error rate : top-5 15.3%(2등 26.2%)
Introduction
- 기존까지는 데이터셋이 작았고 일반화되지도 않았음. 간단한 데이터셋(MNIST, CIFAR 등 - 1만개 정도의 이미지)은 잘 해결했음.
- 엄청난 복잡함이 문제였고 이를 해결하기위해 prior knowledge 가져야함.
- CNN 사용(깊이/넓이 다양하게 할 수 있고 이미지 환경(nature)을 잘 assumption. fewer connection and para.
* stationarity of statistics, stationarity, locality of pixel dependencies
- 고해상도 이미지로 expensive but GPU is powerful enough. and ImageNet contain enough labeled training examples prevent overfitting
- 깊이 중요. any conv layer(각 레이어는 전체 para의 1% 이하 보유) 제거하니까 inferior 성능
- network 크기는 GPU 메모리 양에 제한됨. GPU 성능에 따라 더 커지고 빨라질 수 있음
The Architecture
- 새롭고 일반적이지않은 특성으로 성능 향상, 시간 단축
- 나오는 순서는 중요도 순임.
1. ReLU : non-saturating nonlinearity. train several times faster tanh.
* saturating : 양 또는 음의 무한대로 갈수록 기울기가 0으로 수렴(sigmoid). non이면 무한대로 뻗어갈수 있음(relu)
2. GPU : GPU 2개 사용(gtx 580). spread the net across two GPUs. Cross-GPU parallelization. -
reduce error rates.
## 나중에 추가로 공부할 것
3. Local Response Normalization : aid generalization. 인접 n개의 커널맵 값 활용. lateral inhibition. ReLU 적용 이후에 적용
"brightness normalization". reduce top-1 1.4%, top-5 1.2%.
뭔말인지 모르겠음. 잘 몰라도 될듯.. 다른 리뷰에서도 그냥 넘어감.(BN, LN 쓰면 되니까..)
4. Overlapping Pooling : summarize the outputs of neighboring of neurons
reduce top-1 1.4%, top-5 1.2%.
overfit을 어렵게함.
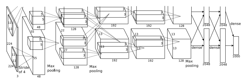
5. overall architecture : 2,3,4,5 conv layer는 같은 GPU. r-normalization은 1,2 conv 후에. maxpooling은 r-normalization과 5 conv layer. relu는 전부에 적용
크기는 224 x 224 x 3

| raw | conv-1 | conv-2 | conv-3 | conv-4 | conv-5 | |
| 필터 | 11x11x3x96 | 5x5x96x256 | 3x3x256x384 | 3x3x384x384 | 3x3x384x256 | |
| 결과 | 224x224x3 | 55x55x96 | 27x27x256 | 13x13x384 | 13x13x384 | 13x13x256 |
| 적용 | stride 4 max-pool, LRN |
max-pool, LRN | GPU 분리 안함 | max-pool |
fc1 : 4096 - fc2 4096 - output 1000
- 224 x 224 x 3
오버피팅 방지
: 60 million para.
1. Data augmentation : with little computation, no need to stored on disk. generated on CPU(while GPU is training previous image - computation free). image translation, horizontal reflection.
256x256에서 224x224를 임의 추출(가로 반사 같이). training set 2048배 늘어남(inter-dependent).
* a factor of : ~배(5배, 10배)
test에서는 224x224 5개 패치(4 모서리, 1 가운데)와 가로 반전으로 10개 패치를 평균내서 make a prediction(예측).
alter the intensities of RGB channels. 이미지에 PCA로 뽑아낸 주성분 곱하고 랜덤 변수와 ~~~ 뭔말인지 모르겠음
이미지의 주요 특징을 잡아내고 특성은 유지함(강도와 채도(밝기))
reduce top-1 1%
2. Dropout : 많은 다른 모델 결합은 error를 낮추는데 매우 좋지만 비쌈. dropout, 뉴런 출력을 0으로(p = 0.5). 그 뉴런은 forward/backward 모두 미참가. weight는 공유. reduce co-adaptation.
test에서는 모든 뉴런 사용하되 output에 p(0.5) 곱함.
첫번째 fclayer에 적용. 오버피팅 막았음. 수렴에 2배의 iteration 걸림
Discussion
depth 매우 중요. 1개라도 빠지면 top-1 2% 감소.
'논문 리뷰' 카테고리의 다른 글
| Layer Normalization 리뷰 (6) | 2024.12.04 |
|---|---|
| Batch Normalization: Accelerating Deep Network Training by ReducingInternal Covariate Shift 리뷰 (7) | 2024.12.04 |
| Resnet(Deep Residual Learning for Image Recognition) 리뷰 (9) | 2024.12.01 |
| 논문 단어 (10) | 2024.11.24 |
| Dropout(A Simple Way to Prevent Neural Networks fromOverfitting) 리뷰 (9) | 2024.11.11 |